Galerie 4
Canon si patentoval objektivy 300mm F2 i 200mm F1.8
i Zdroj: Canon Rumors (přes j-platpat.inpit.go.jp)
Aktualita Objektivy Pevné ohnisko Canon

Canon si patentoval objektivy 300mm F2 i 200mm F1.8

Milan Šurkala

Milan Šurkala

2

Z dalších zajímavých patentů společnosti Canon tu máme vysoce světelné teleobjektivy 300mm F2 a 200mm F1.8. Ale ani těmi to nekončí.

Odměníme každého! Vyplňte komunitní průzkum a získejte luxusní ceny

Odměníme každého! Vyplňte komunitní průzkum a získejte luxusní ceny

Kdo jste, na čem a co hrajete, jaký obsah konzumujete a jaký vztah máte k AI? Věnujte nám pár minut a jako dárek za vyplnění získáte slevu na nákup a šanci získat také další luxusní ceny.

Reklama

Společnost Canon si stejně jako spousta jiných patentuje své optické návrhy pro objektivy. V rámci patentu 2025-179579 tu máme trojici nových objektivů, které se možná v budoucnu objeví i v reálné podobě. Jako první je tu RF 300mm F2, což by mohl být hodně velký objektiv s opravdu malou hloubkou ostrosti. Zajímavostí optického návrhu je ale to, že většina členů je blízko bajonetu, což by mohlo napovídat ne až tak obří hmotnost a těžišti blíže těla fotoaparátu. To by mohlo přispět ke snazší ovladatelnosti. 

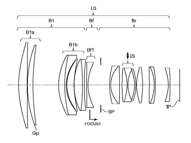
Canon RF 300mm F2
i Zdroj: Canon Rumors (přes j-platpat.inpit.go.jp)
Canon RF 300mm F2

Skutečná ohnisková vzdálenost je dle patentu 294,95 mm, světelnost má hodnotu F2,06, úhel záběru je 8,2° a délka optické soustavy činí 330,02 mm (to obvykle zahrnuje vzdálenost od roviny čipu, takže samotný objektiv by mohl být o pár centimetrů kratší).

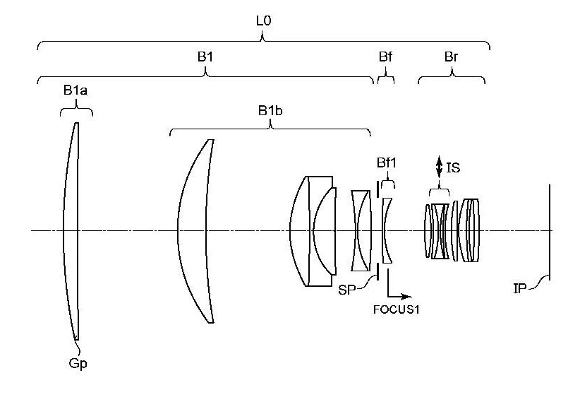
Canon RF 200mm F1.8
i Zdroj: Canon Rumors (přes j-platpat.inpit.go.jp)
Canon RF 200mm F1.8

Další optický návrh se týká objektivu RF 200mm F1.8. Opět tu tak máme nebývale vysokou světelnost vzhledem k ohniskové vzdálenosti. Ta reálně činí 195,66 mm a světelnost je F1,85. Úhel záběru je 12,62° a délka soustavy činí 233,03 mm.

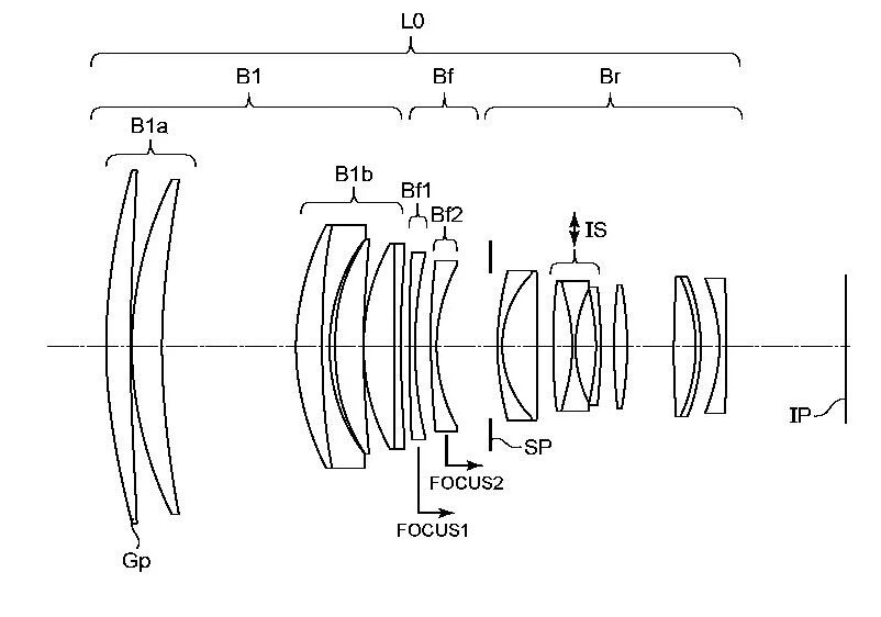
Canon RF 145mm F1.4
i Zdroj: Canon Rumors (přes j-platpat.inpit.go.jp)
Canon RF 145mm F1.4

V seznamu se ale objevil také objektiv, který je docela těžko kam zařadit. Možná by mohlo jít o RF 150mm F1.4, možná by mohl být tradičněji označen jako 135mm, nicméně jeho reálných 145,99 mm je od této hodnoty přece jen už hodně daleko (takže se nabízí oněch kulatých 150 mm nebo přesnějších 145 mm). Zde připomeňme, že Canon má v nabídce RF 135mm F1.8L IS USM, takže verze s F1,4 by nemusela být na škodu. Reálná světelnost je zde F1,44, objektiv má 16,86° úhel záběru a délka optické soustavy činí 205,08 mm.


Reklama
Reklama

Komentáře

Nejsi přihlášený(á)

Pro psaní a hodnocení komentářů se prosím přihlas ke svému účtu nebo si jej vytvoř.

Rychlé přihlášení přes:

Reklama
Reklama
Reklama