Galerie 2
canon-si-patentoval-objektivy-9-18mm-a-18-200mm
Aktualita Objektivy Zoom Canon

Canon si patentoval objektivy 9-18mm a 18-200mm

Milan Šurkala

Milan Šurkala

Na internetu se objevily zprávy o dvou nových patentech objektivů značky Canon. V prvním případě by mělo jít o širokoúhlý zoom 9-18mm pro CSC fotoaparáty, ve druhém pak o inovovaný ultrazoom 18-200mm pro zrcadlovky.

Odměníme každého! Vyplňte komunitní průzkum a získejte luxusní ceny

Odměníme každého! Vyplňte komunitní průzkum a získejte luxusní ceny

Kdo jste, na čem a co hrajete, jaký obsah konzumujete a jaký vztah máte k AI? Věnujte nám pár minut a jako dárek za vyplnění získáte slevu na nákup a šanci získat také další luxusní ceny.

Reklama

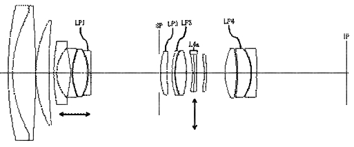
Občas se na internetu objevují zprávy o nových patentech, které mohou napovědět, co se chystá nebo nad čím výrobci uvažují. Nyní se tak objevily specifikace objektivu EF-M 9-18mm f/4.0-5.6. Podle názvu je jasné, že by šlo o objektiv pro CSC systém EOS M, který má zatím v širokoúhlých objektivech pouze model EF-M 11-22mm f/4-5,6 IS STM. Kdyby se tedy představil nový 9-18mm model, nabídl by ještě nezanedbatelně širší úhel záběru (téměř 112° proti 102°).

Canon si patentoval objektivy 9-18mm a 18-200mm

Reálné ohniskové vzdálenosti činí 9,27 až 17,7 milimetru (diagonální úhel záběru 111,7° až 75,3°). Jeho světelnost by činila F4,0 až F5,6 (ve skutečnosti F4,12 až F5,57). Délka objektivu by pak v závislosti na zazoomování činila 61,5 na nejširší až 54,4 mm na nejdelší ohniskové vzdálenosti. Objektiv by patrně neměl optickou stabilizaci, což by u fotek ani nevadilo, ale u videa by mohlo.

Canon si patentoval objektivy 9-18mm a 18-200mm

Druhým objektivem, na který byl podán a získán patent, je EF-S 18-200mm f/3.5-F5.6 IS STM. Novinka by tak měla krokový zaostřovací motorek, který by teoreticky měl zajistit rychlejší a tišší ostření vhodné i pro video zejména s APS-C zrcadlovkami s Dual Pixel CMOS senzory. Skutečné ohniskové vzdálenosti činí 18,6 až 193 mm při diagonálním úhlu záběru 72,6° až 8,1°. Skutečné hodnoty světelnosti by měly být F3,59 až F5,88 a délka objektivu by pak podle zvoleného zoomu činila 145 až 200,2 milimetru. Zda se ale tyto objektivy skutečně objeví i ve výrobě, ukáže čas.


Reklama
Reklama

Komentáře

Nejsi přihlášený(á)

Pro psaní a hodnocení komentářů se prosím přihlas ke svému účtu nebo si jej vytvoř.

Rychlé přihlášení přes:

Reklama
Reklama
Reklama