Galerie 2
Canon si patentuje rybí oko s 3× optickým zoomem
Aktualita Objektivy Rybí oko Canon

Canon si patentuje rybí oko s 3× optickým zoomem

Milan Šurkala

Milan Šurkala

6

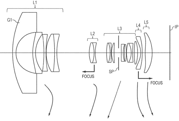
V nedávno zveřejněných patentech společnosti Canon se objevuje hned několik návrhů pro velmi zajímavé objektivy typu rybí oko s optickým zoomem. Ten u této kategorii není příliš obvyklý a 3× optickým zoomem už vůbec ne.

Odměníme každého! Vyplňte komunitní průzkum a získejte luxusní ceny

Odměníme každého! Vyplňte komunitní průzkum a získejte luxusní ceny

Kdo jste, na čem a co hrajete, jaký obsah konzumujete a jaký vztah máte k AI? Věnujte nám pár minut a jako dárek za vyplnění získáte slevu na nákup a šanci získat také další luxusní ceny.

Reklama

Canon vyvíjí nové objektivy, které si už tradičně nechává patentovat a v patentu US20220171172 najdeme hned několik variant velmi zajímavého širokoúhlého objektivu typu rybí oko (fish-eye). Mají totiž optický zoom (to má nicméně také např. Canon EF 8-15mm nebo Nikon AF-S 8-15mm), nicméně v nových patentech společnosti nalezneme dokonce takové, které mají 3× optický zoom. A to rozhodně není typické. Návrhů je zde rovnou 8 a většina z nich se pohybuje okolo 8-24mm F4.

Canon si patentuje rybí oko s 3× optickým zoomem

Třeba ten první má rozsah 8,13 až 24 mm (2,95× optický zoom) a světelnost F4,12-4,15. Úhel záběru je pak 176,62° až 94,48°. Další dva začínají lehce nad 8,4 mm, čtvrtý naopak začíná už na 8,0 mm, sedmý až na 8,6 mm a úhlu záběru od 171°. Samozřejmě není jisté, zda se takový objektiv ukáže i na trhu. Co myslíte?


Reklama
Reklama

Komentáře

Nejsi přihlášený(á)

Pro psaní a hodnocení komentářů se prosím přihlas ke svému účtu nebo si jej vytvoř.

Rychlé přihlášení přes:

Reklama
Reklama
Reklama