Galerie 2
Fujifilm si patentoval další objektivy se světelností F1,0
Aktualita Objektivy Pevné ohnisko Fujifilm

Fujifilm si patentoval další objektivy se světelností F1,0

Milan Šurkala

Milan Šurkala

1

Už v roce 2020 si Fujifilm patentoval několik širokoúhlých objektivů se světelností F1,0, do výroby se ale nedostal žádný z nich a s takovou světelností se představila padesátka. Nyní se objevují další širokoúhlé modely s F1,0.

Odměníme každého! Vyplňte komunitní průzkum a získejte luxusní ceny

Odměníme každého! Vyplňte komunitní průzkum a získejte luxusní ceny

Kdo jste, na čem a co hrajete, jaký obsah konzumujete a jaký vztah máte k AI? Věnujte nám pár minut a jako dárek za vyplnění získáte slevu na nákup a šanci získat také další luxusní ceny.

Reklama

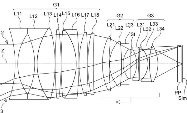
Před více než 1,5 rokem si společnost Fujifilm nechala patentovat několik širokoúhlých objektivů, které se mohly chlubit světelností F1,0. Byly zde modely s ohniskovou vzdáleností 30 mm, 33 mm a 35 mm. Žádný z nich se nedočkal praktické realizace na trhu a místo nich se do prodeje dostal XF 50mm F1.0 R WR. Nyní se ale objevilo další trio patentů, které znovu ukazují širokoúhlé objektivy se světelností F1,0.

Fujifilm si patentoval další objektivy se světelností F1,0

První model 35mm F1.0 je nicméně totožný s předloňským patentem. Další tu máme 32mm F1.0, který se svým optickým návrhem nepodobá žádnému z předchozí trojky. Reálně má 32,022 mm, úhel záběru 49,8° a světelnost F1,03. Další zajímavostí je ještě širokoúhlejší model 28mm F1.0. Něco takového by bylo jistě velmi zajímavé. Je velmi podobný předchozímu 30mm objektivu, má však trochu tenčí jeden člen a jeden člen je tu navíc.


Reklama
Reklama

Komentáře

Nejsi přihlášený(á)

Pro psaní a hodnocení komentářů se prosím přihlas ke svému účtu nebo si jej vytvoř.

Rychlé přihlášení přes:

Reklama
Reklama
Reklama