Galerie 2
patenty-canonu-vrstveny-bsi-a-dynamicky-se-zakrivujici-snimac
Aktualita Fotoaparáty Technologie Canon

Patenty Canonu: vrstvený BSI a dynamicky se zakřivující snímač

Milan Šurkala

Milan Šurkala

21

Společnost Canon patentuje spoustu zajímavých myšlenek a nyní spatřily světlo světa další dva patenty, o jejichž přiznání si požádal. Jeden se týká dynamicky se zakřivujícího snímače, druhý se pak věnuje chlazení vícevrstvého BSI čipu.

Odměníme každého! Vyplňte komunitní průzkum a získejte luxusní ceny

Odměníme každého! Vyplňte komunitní průzkum a získejte luxusní ceny

Kdo jste, na čem a co hrajete, jaký obsah konzumujete a jaký vztah máte k AI? Věnujte nám pár minut a jako dárek za vyplnění získáte slevu na nákup a šanci získat také další luxusní ceny.

Reklama

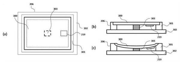
Od společnosti Canon jsme tu už měli spoustu patentů a některé se i dostaly do výroby. Zda to bude případ i následujících dvou, to nevíme. Přesto je zajímavé se na ně podívat. Ten první se týká zakřiveného čipu, který díky piezoelektrickému systému dokáže měnit své zakřivení a to se upravuje podle objektivu, který je použit, jeho ohniskové vzdálenosti a dokonce i místa, na které bylo zaostřeno.

Patenty Canonu: vrstvený BSI a dynamicky se zakřivující snímač

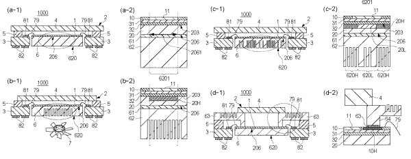
Druhá žádost o patent se týká chlazení vrstveného BSI senzoru. Teplo totiž zvyšuje šum a správné chlazení senzoru tak může zvýšit kvalitu snímku (chlazení se používá např. v astrofotografii). Jak je vidět, u Canonu se ve vývoji nezahálí, teď jen, abychom nové technologie viděli v reálných produktech.

Patenty Canonu: vrstvený BSI a dynamicky se zakřivující snímač

Reklama
Reklama

Komentáře

Nejsi přihlášený(á)

Pro psaní a hodnocení komentářů se prosím přihlas ke svému účtu nebo si jej vytvoř.

Rychlé přihlášení přes:

Reklama
Reklama
Reklama