Galerie 2
patenty-nikonu-24-80mm-f2-8-5-6-a-24-55mm-f1-8-2-8
Aktualita Objektivy Zoom Nikon

Patenty Nikonu: 24-80mm F2.8-5.6 a 24-55mm F1.8-2.8

Milan Šurkala

Milan Šurkala

3

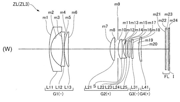
Také společnost Nikon pracuje na nových objektivech, které si pak nechává patentovat. Mezi nimi se objevily i dvě zoomovací novinky. Standardní zoom 24-80mm F2.8-5.6 a vysoce světelný objektiv 24-55mm F1.8-2.8.

Odměníme každého! Vyplňte komunitní průzkum a získejte luxusní ceny

Odměníme každého! Vyplňte komunitní průzkum a získejte luxusní ceny

Kdo jste, na čem a co hrajete, jaký obsah konzumujete a jaký vztah máte k AI? Věnujte nám pár minut a jako dárek za vyplnění získáte slevu na nákup a šanci získat také další luxusní ceny.

Reklama

V poslední době vyplulo na povrch několik zajímavých patentů společností vyrábějících full frame CSC přístroje. O Canonu jsme se už bavili, nyní přichází na řadu Nikon, u něhož se také objevily dva zajímavé objektivy. Prvně tu máme základní zoom 24-80mm F2.8-5.6. Pokud by se takový objektiv objevil (což u uznaných patentů nikdy není jasné), patrně by jako setový objektiv mohl u levnějších FF fotoaparátů nahradit stávající 24-70mm F4 S. Patent hovoří o 3,37× optickém zoomu a přesných světelnostech F2,89 až F5,87. Ještě okolo 36mm ohniskové vzdálenosti by měla být světelnost F3,57. Objektiv pak nabídne úhly záběru 88° až 29,6° (to napovídá, že ve skutečnosti by měl začínat dokonce až na cca 22,4 mm a nikoli 24 mm).

Patenty Nikonu: 24-80mm F2.8-5.6 a 24-55mm F1.8-2.8

Druhým objektivem je velmi zajímavý 24-55mm F1.8-2.8. Tento objektiv by sice nabídl jen menší 2,23× optický zoom, za to by se ale odměnil vynikající světelností, která by začínala už na F1,8. Přesnější hodnoty činí F1,85 na začátku a F2,81 na konci. U 35mm ohniskové vzdálenosti by to mělo být F2,4. Patent pak hovoří o úhlech záběru 83,2° až 44,2°. Zde by naopak skutečná ohnisková vzdálenost měla být kapánek delší než u marketingového označení, konkrétně 24,4 mm.

Patenty Nikonu: 24-80mm F2.8-5.6 a 24-55mm F1.8-2.8

Reklama
Reklama

Komentáře

Nejsi přihlášený(á)

Pro psaní a hodnocení komentářů se prosím přihlas ke svému účtu nebo si jej vytvoř.

Rychlé přihlášení přes:

Reklama
Reklama
Reklama