canon-si-nechal-patentovat-quad-pixel-af
Aktualita Fotoaparáty Technologie Canon

Canon si nechal patentovat Quad Pixel AF

Milan Šurkala

Milan Šurkala

7

Ze zveřejněných patentů společnosti Canon zaujme další nápad. Je jím zaostřovací technologie Quad Pixel AF, která by možná v budoucnu mohla nahradit nynější systém fázového zaostřování Dual Pixel AF.

Odměníme každého! Vyplňte komunitní průzkum a získejte luxusní ceny

Odměníme každého! Vyplňte komunitní průzkum a získejte luxusní ceny

Kdo jste, na čem a co hrajete, jaký obsah konzumujete a jaký vztah máte k AI? Věnujte nám pár minut a jako dárek za vyplnění získáte slevu na nákup a šanci získat také další luxusní ceny.

Reklama

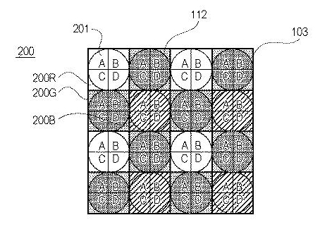
Na Internetu se často objevují patenty, které si podávají společnosti, a velmi často se setkáváme především s Canonem. Z jeho dílen vzešel další patent JP-2020-171060, který se věnuje technologii Quad Pixel AF. Ta by mohl v budoucnu nahradit nynější Dual Pixel AF. Ta rozděluje pixel na dvě poloviny, které umožňují získat informace potřebné ke správnému zaostření. Přesto to má své limity.

Canon si nechal patentovat Quad Pixel AF

Duální pixely jsou rozděleny na dvě poloviny, tedy jen v jednom směru. Ty tak velmi dobře zaostřují na svislé hrany, ale mají značný problém v ostření na vodorovné linie. Quad pixely jsou rozdělené na čtyři, tedy svisle i vodorovně, díky čemuž by měly umožňovat výrazně lepší zaostřování i na vodorovné kontrastní linie. Zatím ale netušíme, kdy (a zda) by se tato technologie mohla objevit v prvních produktech.


Reklama
Reklama

Komentáře

Nejsi přihlášený(á)

Pro psaní a hodnocení komentářů se prosím přihlas ke svému účtu nebo si jej vytvoř.

Rychlé přihlášení přes:

Reklama
Reklama
Reklama