Galerie 2
Canon si patentoval nový 3vrstvý snímač
Aktualita Fotoaparáty Technologie Canon

Canon si patentoval nový 3vrstvý snímač

Milan Šurkala

Milan Šurkala

5

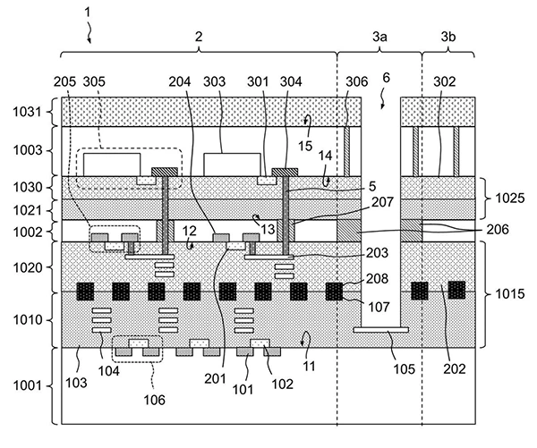
Dnes už jsou běžné vrstvené snímače, které díky tomuto konceptu zvyšují světlocitlivou plochu a zrychlují i vyčítání. Společnost Canon nyní přichází s patentem na speciální senzor se třemi vrstvami.

Odměníme každého! Vyplňte komunitní průzkum a získejte luxusní ceny

Odměníme každého! Vyplňte komunitní průzkum a získejte luxusní ceny

Kdo jste, na čem a co hrajete, jaký obsah konzumujete a jaký vztah máte k AI? Věnujte nám pár minut a jako dárek za vyplnění získáte slevu na nákup a šanci získat také další luxusní ceny.

Reklama

Technologie snímačů se stále posouvají kupředu a v posledních letech to máme zejména jejich vrstvení. Fotodiody se posouvají kupředu a části obvodů, které byly dosud vedle nich, se posouvají dolů a vytváří novou vrstvu. Podobně tak se na čipy jako speciální vrstvy dostaly i paměti DRAM. Jednou z nedávných novinek byl např. 2vrstvý snímač Exmor T od Sony, Canon si nicméně nechal patentovat rovnou 3vrstvý senzor. Ten dále rozděluje část s vyčítáním a dalšími obvody do dvou vrstev.

Canon si patentoval nový 3vrstvý snímač

Nahoře tak máme vrstvu fotodiod s mikročočkami jako u běžných čipů. Systém vyčítání pixelů s A/D převodníky je pak ve vrstvě druhé (nikoli tedy na stejné) a do třetí vrstvy se pak dostaly obvody, které dále zpracovávají signál. Výsledkem by měla být nižší spotřeba horní vrstvy a lepší schopnost jejího rychlého přepínání, což umožní zrychlit vyčítání pixelů, tedy např. zvýšit rychlost sekvenčního snímání nebo snížení rolling shutter efektu. Kdy bude takový čip nasazen (a v čem), je prozatím nejasné. Spekuluje se o tom, že by se tak mohlo stát ve vlajkové lodi EOS R1, to jsou ale prozatím jen domněnky.


Reklama
Reklama

Komentáře

Nejsi přihlášený(á)

Pro psaní a hodnocení komentářů se prosím přihlas ke svému účtu nebo si jej vytvoř.

Rychlé přihlášení přes:

Reklama
Reklama
Reklama