Galerie 2
canon-si-patentoval-objektivy-rf-50mm-i-35mm-f1-4
Aktualita Objektivy Pevné ohnisko Canon

Canon si patentoval objektivy RF 50mm i 35mm F1.4

Milan Šurkala

Milan Šurkala

Už je zvykem, že se na Internetu najdou patentové přihlášky nejrůznějších produktů, např. objektivů. V případě Canonu je to hodně časté a nyní se objevilo několik pevných objektivů se světelností F1,4 i F1,8.

Odměníme každého! Vyplňte komunitní průzkum a získejte luxusní ceny

Odměníme každého! Vyplňte komunitní průzkum a získejte luxusní ceny

Kdo jste, na čem a co hrajete, jaký obsah konzumujete a jaký vztah máte k AI? Věnujte nám pár minut a jako dárek za vyplnění získáte slevu na nákup a šanci získat také další luxusní ceny.

Reklama

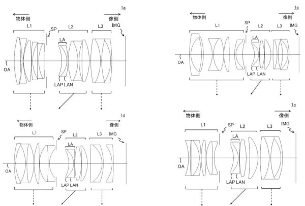
Máme zde další patentové přihlášky společnosti Canon, které ukazují, na čem tato společnost pracuje a čeho bychom se mohli dočkat v blízké budoucnosti. Pochopitelně, jen málokteré produkty se opravdu objeví na trhu. Nyní je to pět různých pevných objektivů s dobrou světelností pro bajonet Canon RF, přičemž jde o klasická 35mm a 50mm skla. Jako první tu máme objektiv RF 35mm F1.4. Ten má reálnou ohniskovou vzdálenost 33,99 mm, světelnost F1,45 a úhel záběru 64,96°. Je poměrně dlouhý se 131,16 mm.

Canon si patentoval objektivy RF 50mm i 35mm F1.4

Dále tu máme čtyři "padesátky". Pouze v jednom případě jde o RF 50mm F1.8. Tato verze má 48,49mm ohniskovou vzdálenost, světelnost F1,85, úhel záběru 48,08° a délku 91,98 mm. Je zde i světelnější verze RF 50mm F1.4. Se stejnou ohniskovou vzdáleností 48,49 mm a úhlem záběru 48,08° má tentokrát světelnost F1,45 a délku 116,56 mm. Jsou zde také i další dva objektivy 50mm F1.4. Ten následující má 48,47mm ohniskovou vzdálenost, úhel záběru 48,1°, tutéž světelnost F1,45 a délku 108,84 mm. Poslední verze je trochu "delší" s 51,5 mm a užším úhlem záběru 45,58°. Světelnost je rovněž F1,45 a je o něco kratší s 95,19 mm.

Canon si patentoval objektivy RF 50mm i 35mm F1.4

Reklama
Reklama

Komentáře

Nejsi přihlášený(á)

Pro psaní a hodnocení komentářů se prosím přihlas ke svému účtu nebo si jej vytvoř.

Rychlé přihlášení přes:

Reklama
Reklama
Reklama