canon-si-patentoval-zoomovaci-telekonvertor-1-0-2-0
Aktualita Příslušenství Filtry a předsádky Canon

Canon si patentoval zoomovací telekonvertor 1.0-2.0×

Milan Šurkala

Milan Šurkala

1

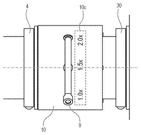
Objevil se další zajímavý patent společnosti Canon. Ten ukazuje telekonvertor vybavený optickým zoomem. Uživatel si tak může vybrat zazoomování ve třech různých polohách mezi hodnotami 1,0× až 2,0×.

Odměníme každého! Vyplňte komunitní průzkum a získejte luxusní ceny

Odměníme každého! Vyplňte komunitní průzkum a získejte luxusní ceny

Kdo jste, na čem a co hrajete, jaký obsah konzumujete a jaký vztah máte k AI? Věnujte nám pár minut a jako dárek za vyplnění získáte slevu na nákup a šanci získat také další luxusní ceny.

Reklama

Poslední dobou se objevují častěji objektivy se zapínatelným integrovaným telekonvertorem. Takový má Canon už od roku 2013, později se přidal i Nikon a Olympus. Přímo na objektivu si tak uživatel může v případě potřeby rychle zapnout 1,4× (v případě Olympusu 1,25×) přiblížení, nemusí tak sundávat objektiv a nasazovat ho s tekonvertorem zpět. To je pohodlné řešení. Canon nicméně přichází s myšlenkou telekonvertoru, který by měl jeho používání také o něco více usnadnit.

Canon si patentoval zoomovací telekonvertor 1.0-2.0×

Jde o telekonvertor, jehož patent (2020-197580) se objevil na Internetu, a který by přinášel podobné pohodlí jako ten integrovaný. Nabízel by totiž absenci přiblížení (hodnotu 1,0×), páčkou by ale umožnil aktivovat optický zoom na hodnotu 1,5× a dokonce i 2,0×. Přepínání mezi těmito třemi možnostmi by tak bylo možné bez sundávání objektivu. Líbilo by se vám něco takového?


Reklama
Reklama

Komentáře

Nejsi přihlášený(á)

Pro psaní a hodnocení komentářů se prosím přihlas ke svému účtu nebo si jej vytvoř.

Rychlé přihlášení přes:

Reklama
Reklama
Reklama