Galerie 7
nikon-si-nechal-patentovat-vypinatelny-low-pass-filtr
Aktualita Fotoaparáty Technologie Nikon

Nikon si nechal patentovat vypínatelný low-pass filtr

Milan Šurkala

Milan Šurkala

4

Některé z dnešních fotoaparátů "nemají" low-pass filtr, což zvyšuje ostrost snímků, ale na druhou stranu zvyšuje riziko vzniku moaré efektu. Nikon si nechal patentovat technologii, která bude low-pass filtr elektronicky vypínat nebo měnit jeho sílu.

Odměníme každého! Vyplňte komunitní průzkum a získejte luxusní ceny

Odměníme každého! Vyplňte komunitní průzkum a získejte luxusní ceny

Kdo jste, na čem a co hrajete, jaký obsah konzumujete a jaký vztah máte k AI? Věnujte nám pár minut a jako dárek za vyplnění získáte slevu na nákup a šanci získat také další luxusní ceny.

Reklama

V dnešní době se zvětšuje počet fotoaparátů, které nejsou vybavené low-pass filtrem rozostřujícím obraz (např. Nikon D800E, Nikon D7100, Nikon Coolpix A, Sony Cyber-shot RX1R a některé další). Díky tomu mohou nabídnout větší ostrost snímků, má to ale svou cenu. Nerozostřený obraz má větší náchylnost ke vzniku moaré efektu, různých barevných proužků v obraze při snímání šikmých linií. Velmi dobře to jde vidět v televizi při snímání člověka v proužkované košili.

Nikon si nechal patentovat vypínatelný low-pass filtr


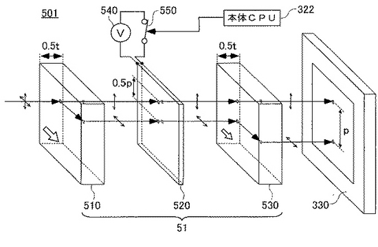
Funguje to velice jednoduše. V klasických fotoaparátech je první low-pass filtr, který rozdělí světlo např. v horizontálním směru, projde přes infračervený a cirkulární polarizační filtr. Cirkulárně polarizované světlo prochází druhým filtrem, který rozdělí již jednou rozdělené světlo (dva světelné paprsky) ještě ve směru vertikálním. Dojde tak k rozostření (na čtyři paprsky), které minimalizuje moaré efekt, jenž je hodně patrný např. u videosekvencí. Takto to funguje např. v Nikonu D800, viz obrázek níže.

Nikon si nechal patentovat vypínatelný low-pass filtr


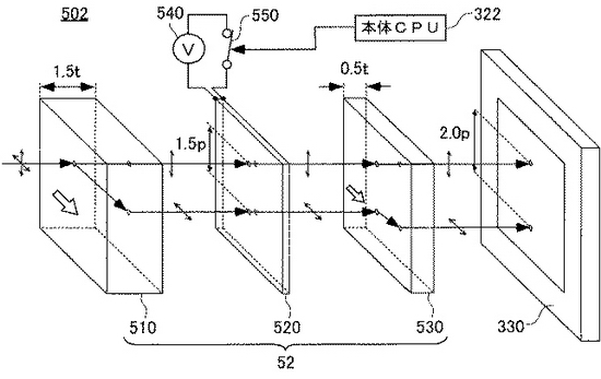
Nikon nicméně hodlá mít možnost tento efekt vypínat, což se můžete dočíst v novém patentu. Standardní meziprostor mezi oběma low-pass filtry je u nově patentované technologie vyplněn tekutými krystaly (a nikoli polarizačním filtrem jako v předchozím případě), které mohou nebo nemusí měnit polaritu světla. Zde jsou krystaly "zapnuté" a nemění polaritu světla. Toto světlo jde do druhého low-pass filtru, které vertikální složku pošle dál a horizontální opět o něco posune a více rozostří.

Nikon si nechal patentovat vypínatelný low-pass filtr


Pokud si myslíte, že např. Nikon D800E oproti modelu D800 nemá low-pass flltr, mýlíte se. Jediný rozdíl je v tom, že místo cirkulárního polarizačního filtru je tu mezi oběma low-pass filtry jenom sklo (plus infračervený filtr). Rozdělené světlo projde sklem a v druhém low-pass filtru se zase vrátí do původní dráhy.

Nikon si nechal patentovat vypínatelný low-pass filtr


Jak již bylo řečeno, nová technologie Nikonu má umožňovat tento efekt vypínat. Pokud vypnete destičku s tekutými krystaly, bude tato destička obracet polaritu světla. Oba filtry tedy i nadále propouští vertikální složku, ale posouvají horizontální. Protože ale destička s krystaly mění polaritu, druhý filtr posune původně neposunutou vertikální složku (ta totiž změnila polaritu na horizontální a tedy se musí ve druhém filtru posouvat) a naopak neposune už posunutou horizontální (která je nyní díky obrácené polarizaci vertikální). Obě se tak setkají ve stejném místě a efekt low-pass filtru se vyruší (pouze se lehce posune dráha světelného paprsku).

Nikon si nechal patentovat vypínatelný low-pass filtr


Nikon vidí výhodu v tomto řešení zejména ve větší spolehlivosti, než by bylo zajištěno nějakým mechanickým zapínáním a vypínáním filtru. Fantazii se meze nekladou a Nikon hovoří nejen o možnosti mít filtr zapnutý a vypnutý, ale podobným způsobem je možné vytvořit filtr, který bude mít třeba slabý efekt pro statické snímky a silný pro videosekvence.

Nikon si nechal patentovat vypínatelný low-pass filtr


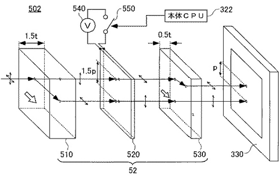
Vyřešeno to může být různou tloušťkou jednotlivých filtrů (čím silnější, tím větší je rozostření, neboli posun paprsku). Na obrázku výše vidíte např. rozostření o 1,5 pixelu prvním filtrem a kvůli odečítání funkcí filtrů se tento paprsek o polovinu pixelu přiblíží ve druhém filtru, čímž vznikne čistě v teoretické rovině posun o jeden pixel. Toto je zobrazení efektu slabého filtru.

Nikon si nechal patentovat vypínatelný low-pass filtr


Když se ale pomocná deska s tekutými krystaly zapne a polarizace světla neproběhne, světlo posunuté o 1,5 pixelu se ve druhém filtru o polovinu pixelu nepřiblíží, ale naopak oddálí. Celkové rozostření tak bude na ploše vzdálenost dvou pixelů. Toto najde využití např. u videosekvencí, kde je třeba silnějšího efektu. Zatím není jasné, kdy a zda se technologie objeví, je to ale zajímavý nástin toho, co nás možná v budoucnu čeká.

Zdroj: www.dpreview.com, egami.blog.so-net.ne.jp


Reklama
Reklama

Komentáře

Nejsi přihlášený(á)

Pro psaní a hodnocení komentářů se prosím přihlas ke svému účtu nebo si jej vytvoř.

Rychlé přihlášení přes:

Reklama
Reklama
Reklama